Как снять подшипник с барабана стиральной машины
За время работы стиралки в ней периодически ломаются разные детали. Большинство неисправностей несложно устранить самостоятельно. Например, поменять подшипник на стиральной машине.
Необходимые инструменты
Если решено самостоятельно осуществить замену, запаситесь инструментами:
- молотки обычный и резиновый;
- набор шестигранных ключей;
- набор торцевых ключей 12–19 хвата;
- рожковые ключи таких же размеров;
- разводной ключ;
- крестообразная и шлицевая отвертки;
- зубило с широкой площадью, либо выбойник;
- смазка для подвижных соединений;
- новый подшипник и сальник;
- изолента;
- герметик;
- фотоаппарат для поэтапного запечатления разборки, это позволит избежать проблем со сборкой.
Порядок выполнения работ
Для начала отключите устройство от электросети. Отсоедините шланги от водонапорной трубы и канализационного слива. Обеспечьте достаточное пространство для работ.
Разборка стиральной машины
Наконец настал черед передней и задней панелей. У каждой модели свой тип крепления панелей.
Важно фотографировать каждый болтик.
Отсоединение тэна и систем подачи воды
Для разборки бака и замены подшипника:
Если не получится вручную, используйте резиновый молоток.
Прежде чем заменить подшипник в стиральной машине, проверьте втулки, вал и крестовину.
Если прибор долго работал со сломанными подшипниками, элементы могли испортиться:
- люфт у вала;
- трещина на крестовине;
- поломка вала до такой степени, что новый сальник не удержит воду.
Если же признаков этих проблем нет, то достаточно просто очистить от грязи и накипи вал и втулку. Необходимо довести эти детали до абсолютно гладкого состояния, и проверка на предмет незамеченного налета не повредит.
Настало время снять подшипники с барабана разобранной стиральной машины. Их нужно выбить при помощи зубила и молотка. Однако выбивать следует осторожно, иначе можно повредить бак.
Если сальник, который также нужно поменять, не выпал вместе с подшипником, его достают отдельно. Места крепления подшипников нужно смазать. Теперь можно поменять подшипник на стиральной машине, установив новые при помощи молотка с зубилом. Новый сальник необходимо обильно смазать тем же веществом.
Руководствуясь снимками, соберите стиральный прибор.
Проведите тестовую стирку, чтобы проверить правильность сборки.
Нюансы для разных моделей
Если бак неразборный, то его придется отпиливать, что существенно осложнит задачу. Общая тенденция сейчас такова: чем новее машина, тем больше вероятность того, что бак у нее неразборный.
Покупка дорогоих стиральных машин поможет оттянуть износ деталей. Качество влияет лишь на то, через какой временной промежуток запчасти выйдут из строя.
Для впресовки подшипников нужно прикладывать физическую силу. Можно попробовать менять подшипники на своих коленях, тогда вероятность повредить бак меньше. Если же впрессовывать новые детали на столе, то делать это нужно очень осторожно.
Разбирать стиральную машину — сложная задача. Есть риск повредить устройство или травмироваться самому. Если не уврены в своих силах, лучше обратитесь к мастеру.
Как снять подшипник с барабана стиральной машины своими руками – Жми!
Одной из наиболее частых поломок стиральной машины, является выход подшипника из строя. При этом появляется повышенный шум в режиме отжима, стук, биение барабана.
Если вы обнаружили, что в вашей стиральной машине вышел из строя подшипник, то тянуть с заменой крайне нежелательно.
Его осколки и части разрушенного сальника, могут привести к другим более серьезным поломкам, таким как, выведение из строя двигателя, латунной втулки, платы управления.
Ремонт которых обойдется ненамного дешевле, чем приобретение новой стиральной машины. Следует отметить, что принцип замены подшипника одинаков для машин фирм LG, Samsung, Zanussi, Атлант, Ардо, BEKO, Индезит и других распространенных марок.
Как снять
В процессе ремонта следует придерживаться ниже приведенных рекомендаций, чтобы не навредить технике еще больше, так как в этой ситуации есть вероятность, что даже опытный мастер уже не сможет вам помочь.
Однако, если вы уверены, что справитесь – запасайтесь инструментом. Итак, приступим к разборке.
Нам понадобятся:
Этапы разборки:
Наша задача – добраться до бака, поэтому снимаем все детали и извлекаем бак.
Также необходимо снять уплотнительную резинку и все остальные детали с бака.
При расположении шва на передней части будет удобно резать, однако часто он проходит сзади близко к камере прессостата, из-за чего работать будет намного сложнее.
В таком случае придется снять полотнище с ножовки, а чтобы не поранить себя, один конец полотнища необходимо обмотать изолентой или тканью. Работать необходимо с большой аккуратностью. Чтобы наш бак не разломился пополам под действием своего тяжелого веса, его необходимо поддерживать с обеих сторон. В идеале делать это лучше с помощником.
Вал плотно сидит на подшипниках. Болт шкива заточен, как правило, под отвертку «звездочка».
С его отворачиванием могут возникнуть сложности, так как резьба часто бывает залита клеем. Отпилив края шляпки болта болгаркой, мы значительно упростим себе задачу — болт можно будет захватить гаечным ключиком подходящего размера либо разводным.
Если этому будут препятствовать части разбитого подшипника, то придется воспользоваться молотком, чтобы выбить шкив, соблюдая максимальную осторожность, дабы не испортить резьбу вала. Для очистки резьбы используем баллончик WD-40. Следующий этап — снятие вала выполняется с помощником.
Барабан необходимо держать на весу, вал должен смотреть наверх. На торцевую часть вала накладывается стальная пластина.
Молотком наносятся точные резкие удары. Вал должен выбиться, а разбитый подшипник останется во втулке бачка.
Если внутреннее кольцо неисправного подшипника не удастся снять – используем болгарку. Сальник можно вытащить с помощью широкой отвертки либо разводного ключика. Цепляем край сальника и используем инструмент, как рычаг. Берем молоток и извлекаем подшипник. Бить надо под углом.
После этого внимательно изучаем втулку на предмет ржавчины и заусенцев, и если находим таковые, то необходимо устранить их наждачной бумагой с мелкой фракцией. Если будут иметь место вмятины или неровности, то необходима замена крестовины целиком.
Монтаж новой запчасти
Прикидываем новый подшипник на вал. Налезать он должен очень плотно.
Если он заходит свободно – нужна замена крестовины.
Для удобства можно использовать внешнее колечко снятого ранее подшипника в качестве надставки и аккуратно забить новый молотком. Сальник обильно смазываем литолом и сажаем на место.
Кладем разрезом вверх обе части бака. На любой из них по линии разреза маркером ставим точки с интервалом 10 см. По точкам бурим отверстия диаметром 3мм.
Сводим части бака. Сквозь отверстия первой половины бака отмечаем точки на второй и так же сверлим. Наносим герметик на шов, сводим половинки, закрепляем их саморезами. Лишний герметик удаляем. Монтаж бака производится в порядке, обратном разборке и демонтажу.
Как правило, подшипник выходит из строя из-за перегрузки барабана и из-за отложений накипи. Правильная эксплуатация и профилактические меры избавят вас от этой неприятности.
Смотрите видео, в котором специалист подробно разъясняет, как снять подшипник с барабана стиральной машины Индезит:
Как снять подшипник с барабана стиральной машины и заменить своими руками?
Трудно себе представить современный городской, да и сельский дом без бытовой техники.
Стиральные машины есть практически в каждой семье. Без них труд женщин был бы не выносимо тяжелым.
https://www.youtube.com/watch?v=uFpLe_Kd0NE
Вряд ли можно найти хозяйку, которая отказалась бы от этих благ цивилизации и согласилась опять стирать руками, как это делали наши мамы и бабушки несколько десятилетий тому назад.
Машины – автомат довольно прочно вошли в наш быт, они приносят нам неоценимую помощь, экономия время и силы.
Хочется нам этого или нет, но приходит время, и любая техника выходит из строя, стиральные машинки не исключение. Поломки могут быть разного характера:
- начинает барахлить электрическая схема;
- перестает работать слив;
- не набирается вода в барабан;
- загудел подшипник.
Причин, по которым агрегат может выйти из строя довольно много: некорректное отношение, частые перепады электроэнергии, выход из строя одного из узлов машинки.
Очень часто пользователи обращаются в сервисные центры с просьбой заменить помпу, нагревательный элемент, двигатель и подшипник.
Что это такое, и зачем его менять?
Неопытный человек может не уделить должного внимания такой важной детали, как подшипник, потому что он практически не заметен в устройстве техники. При визуальном осмотре нам на глаза попадается барабан, клапаны, трубки и помпа.
Как правило, именно с этих деталей и начинается «ревизия» поломок. Именно подшипники обуславливают качество работы скрытых конструкций.
Подшипник – это тот компонент стиральной машинки, который приходит в негодность чаще всего. Его основная функция заключается в том, что он является частью опоры, которая поддерживает вал. Он цепко фиксирует положение вала, обеспечивая тем самым его вращение. Если говорить более понятным языком, подшипник принимает на себя нагрузку, а затем распределяет ее равномерно на остальные узлы.
Самостоятельно определить степень его износа не составляет большого труда. Такая поломка определяется на слух. Наблюдаются некоторые сбои в работе агрегата: в режиме «отжим» машина начинает сильно стучать, дребезжать и вибрировать.
Также проверку можно провести визуально, поочередно надавливая поочередно наверх и низ барабана. Если обнаружится люфт, можно смело утверждать, что пора менять подшипник.
Игнорируя поломку и откладывая ремонт в долгий ящик, дело закончится тем, что изношенная деталь повредит втулку на оси крестовины барабана. А это чревато заменой всей крестовины. Стоит такой ремонт намного дороже, чем замена подшипника.
Еще может быть такое развитее событий: из – под сношенного подшипника может протекать вода. А она в свою очередь попадет на нагревательный элемент – и в результате произойдет замыкание модуля. Тогда эту машинку можно будет отвести только на утилизацию.
Мастера рекомендуют менять данную деталь через определенный интервал времени, в независимости от того в каком они находятся в данный момент состоянии. Немаленький вред этому элементу доставляет вода. Когда он находится в исправном состоянии, он не вступает в контакт с жидкостной средой.
Коррозия неминуема только в результате протечки. Прореха появляется в сальнике. Его кстати необходимо так же менять, не выжидая поломки (специалисты советуют это делать через 4 – 5 лет пользования машиной).
Если в ближайшие планы входит замена подшипников, не следует забывать и об обновлении сальника. Ресурс использования подшипника и сальника должен быть одинаковым. В противном случае поломка одной детали повлечет за собой неисправность другой.
Необходимые материалы и инструменты
Каких — то специальных принадлежностей и аппаратуры для замены данной детали не требуется. Все необходимое должно быть у каждого мужчины дома в хозяйстве.
Если чего то и нет, то недостающий инструмент можно купить в строительном магазине.
В основном вся работа будет содержаться в разборке агрегата.
Перед тем, как приступить к делу, нужно внимательно оценить фронт работы и необходимость в том, или ином инструменте. Многое будет зависеть от марки и модели стиралки.
Что именно вам может пригодиться в работе:
- набор отверток: фигурная и обычная;
- плоскогубцы и круглогубцы;
- 2 ключа – на 17 и на 19;
- торцевые головки на 7, 8, 10, 13;
- резиновый молоток;
- шестигранник на 6;
- отвертка универсальная, предназначенная для работы с различными насадками;
- водоустойчивый герметик;
- резиновая киянка;
- зубило.
Пошаговая инструкция
- В первую очередь нужно демонтировать бак. В разных марках и моделях это делается иначе.
- После того, как бак снят, нужно открутить основную гайку и снять шкив.
- Отверткой или шуруповертом откручиваем шурупы, с помощью которых крепятся между собой обе половины бака, и осторожно разжимаем их.
- Вытаскиваем бак из корпуса машинки и очищаем его от грязи и накипи.
- Старый подшипник выбивается зубилом. Внешний элемент снимается первым. Для того, что бы выбить внутренний подшипник, бак переворачивают. Новый комплект (2 подшипника и сальник, смазанные специальной термостойкой смазкой) должен у вас уже быть под рукой. Эти детали устанавливаются с точностью до наоборот – первым ставится внутренний подшипник. Элементы нужно утапливать вручную и только потом аккуратно забивать резиновым молотком или киянкой.
- На половинки бака одевается новая прокладка. По всей поверхности наносится герметик.
- На бак надеваем шкив и тщательно закрепляем его с помощью ключа.
- Закручиваем шурупы на половинках бака.
Таким образом, происходит замена подшипников в стиральной машине.
Все машины имеют разное устройство. Поэтому работа по замене подшипника иногда предполагает полного разбора агрегата.
Приходится доставать бак из каркаса вместе с барабаном. Так поступают с моделями, у которых пластиковый бак. Для того, что бы достать бак, нужно снять заднюю или лицевую часть машины.
Если ремонт откладывался в долгий ящик, подшипники могут развалиться, тогда внутреннее кольцо останется на валу, а наружное в баке. Остатки можно снять только с помощью проточки его на станке. Выбить остатки из бака можно только специально заточенным инструментом.
Если вовремя не поменять изношенный механизм, можно нарушить целостность барабана. В случае, если кольцо, по которому скользит сальник разломано или велик износ вала, то менять подшипник не имеет никакого значения. Тогда придется менять крестовину вместе с валом или даже весь барабан.
В машинах, у которых баки изготовлены из нержавейки, подшипники можно заменить намного проще.. В таких моделях они запрессованы в крестовину или в заднюю крышку бака, снять которую не составит труда.
Для того что бы агрегат после ремонта хорошо работал, нужно все скурпулезно вычистить. Особенно это касается кольца, по которому скользит сальник.
Если вы решили не испытывать судьбу и доверить ремонт машины мастеру, то замена подшипника в среднем будет стоить в фронтальной машине от 1000 до 2000 рублей., в вертикальном агрегате – 1500 руб. Заменить подшипник в крестовине вам обойдется – 1000 – 1500 руб. Замена в полубаке будет стоить не менее 2000 руб.
Стоимость замены в домашних условиях вам обойдется значительно дешевле. Придется заплатить только за подшипник. Цена может быть различной в регионах России. Поэтому, узнавайте расценки в сервисных центрах вашего города или в интернет магазинах.
При правильном использовании и бережном отношении бытовая техника будет служить вам очень долго.
На видео вы можете увидеть, как меняется подшипник в стиральной машине:
Как снять подшипник с барабана стиральной машины и заменить своими руками?
Сложно представить себе современный городской, да и деревенский дом без домашней техники.
Машины стиральные есть фактически в любой семье.
Без них труд представительниц слабого пола был бы не выносимо тяжёлым.
Не получится найти владелицу, которая незахотела бы от данных цивилизационных благ и согласилась снова стирать руками, как это делали наши мамы и бабушки пару десятилетий тому назад.
Машины – автомат довольно прочно в наш быт вошли, они приносят нам большую помощь, экономия время и силы.
Хочется нам этого или нет, но приходит период, и любая техника выходит из строя, стиралки не исключение. Неполадки могут быть разного характера:
- начинает барахлить электросхема;
- перестает работать слив;
- вода не набирается в барабан;
- загудел подшипник.
Причин, по которой аппарат может поломаться достаточно много: некорректное отношение, постоянные перепады электрической энергии, выход из строя одного из узлов машинки.
Наиболее часто клиенты обращаются в гарантийные центры с просьбой сменить помпу, ТЕН, мотор и подшипник.
О чем статья:
- Что это такое, и для чего его менять?
- Необходимые инструменты и материалы
- Подробная инструкция
- Сколько стоит замена подшипника?
Что это такое, и для чего его менять?
Неквалифицированный человек может не выделить необходимого внимания такой основной детали, как подшипник, из-за того что он почти что не виден в устройстве техники. При зрительном осмотре нам на глаза попадается барабан, клапаны, трубки и помпа.
В основном, собственно с данных деталей и начинается «проверка» неполадок. Именно подшипники обуславливают качество работы невидимых конструкций.
Подшипник – это тот элемент стиралки, который приходит в негодность очень часто. Его главная функция состоит в том, что он считается частью опоры, которая поддерживает вал. Он цепко фиксирует положение вала, обеспечивая таким образом его вращение. Если говорить более понятным языком, подшипник на себя принимает нагрузку, а потом распределяет ее одинаково на другие узлы.
Собственноручно определить степень его износа не составляет огромного труда. Данная неполадка устанавливается на слух. Наблюдаются некоторые перебои в работе агрегата: в режиме «отжим» машина начинает сильно стучать, дребезжать и вибрировать.
Также проверку можно провести зрительно, по очереди нажимая по очереди наверх и низ барабана. Если обнаружится люфт, смело можно говорить, что время менять подшипник.
Игнорируя неисправность и откладывая ремонт в долгий ящик, дело окончится тем, что износившаяся деталь повредит втулку на оси крестовины барабана. А это опасно заменой всей крестовины. Стоит ремонт такого типа значительно дороже, чем замена подшипника.
Еще может быть такое развитее событий: из – под сношенного подшипника может протекать вода. А она со своей стороны попадет на ТЕН – и в результате случится замыкание модуля. Тогда эту машинку можно будет отвести исключительно на переработку.
Переходите на сайт Сайт о ремонте.
Мастера советуют менять эту деталь через конкретный временной интервал, в независимости от того в каком они находятся сейчас состоянии. Немаленький вред такому элементу доставляет вода. Когда он находится в рабочем состоянии, он не вступает в контакт с жидкостной средой.
Ржавчина неминуема только в результате протечки. Прореха появляется в сальнике. Его к слову нужно также менять, не выжидая неполадки (эксперты рекомендуют это делать через 4 – 5 лет пользования машиной).
Если в ближайшие планы входит замена подшипников, нужно всегда помнить и об обновлении сальника. Ресурс применения подшипника и сальника обязан быть одинаковым. В другом случае неполадка одной детали за собой повлечет поломку другой.
Необходимые инструменты и материалы
Каких — то специализированных вещей и аппаратуры для замены этой детали не потребуется. Все что необходимо должно быть у любого мужчины дома в обиходе.
Если чего то и нет, то недостающий инструмент можно приобрести в магазине строительных материалов.
По большей части вся работа будет содержаться в разборке агрегата.
Прежде чем приступить к делу, необходимо тщательно оценить спектр работы и надобность в том, или другом инструменте. Многое зависит от марки и модели стиралки.
Что собственно вам может понадобиться в работе:
- комплект отверток: фигурная и обыкновенная;
- плоскогубцы и круглогубцы;
- 2 ключа – на 17 и на 19;
- торцевые головки на 7, 8, 10, 13;
- молоток из резины;
- шестигранник на 6;
- отвертка многофункциональная, которая предназначена для работы с разными насадками;
- водоустойчивый герметик;
- киянка резиновая;
- зубило.
Подробная инструкция
- Сначала необходимо демонтировать бачок. В различных марках и моделях это выполняется иначе.
- После того, как бачок снят, необходимо открутить главную гайку и снять шкив.
- Отверткой или шуруповертом откручиваем саморезы, благодаря которым фиксируются между собой обе половины бачка, и осторожно разжимаем их.
- Вытаскиваем бачок из корпуса машинки и очищаем его от грязи и накипи.
- Устаревший подшипник выбивается зубилом. Наружный компонент снимается первым. Для того, что бы выбить внутренний подшипник, бачок переворачивают. Новый набор (2 подшипника и сальник, смазанные специализированной термостойкой смазкой) должен у вас уже быть под рукой. Данные детали ставятся с точностью до наоборот – первым вставляется внутренний подшипник. Детали необходимо утапливать ручным способом и лишь потом бережно заколачивать молотком из резины или киянкой.
- На половинки бачка одевается новая прокладка. По всей поверхности наноситься герметик.
- На бачок надеваем шкив и тщательно прикрепляем его используя ключ.
- Вкручиваем саморезы на половинках бачка.
Подобным образом, происходит замена подшипников в машине для стирки.
Все машины имеют различное приспособление. Благодаря этому работа по замене подшипника порой предусматривает полного разбора агрегата.
Приходится доставать бачок из каркаса вместе с барабаном. Так поступают с моделями, у которых выполненный из пластика бачок. Для того, что бы достать бачок, необходимо снять тыльную или лицевую часть машины.
Если ремонт откладывался в долгий ящик, подшипники могут развалиться, тогда кольцо находящееся внутри остается на валу, а внешнее в бачке. Останки можно снять только при помощи проточки его на станке. Выбить останки из бачка можно лишь специально заточенным инструментом.
Если своевременно не заменить износившийся механизм, можно нарушить цельность барабана. Например если кольцо, по которому скользит сальник разломано или велик износ вала, то менять подшипник значения никакого не имеет. Тогда будет необходимо менять крестовину вместе с валом либо даже весь барабан.
В машинах, у которых бачки сделаны из нержавеющей стали, подшипники можно сменить более проще.. В моделях такого типа они запрессованы в крестовину или в тыльную крышку бачка, снять которую не требует большого труда.
для того что бы аппарат после ремонтных работ прекрасно работал, необходимо все скурпулезно почистить. Тем более это касается кольца, по которому скользит сальник.
Замена подшипников и сальника стиральной машины
Главная › Полезные статьи
Купив и установив дома стиральный автомат, многие владельцы обращают внимание на такую характеристику, как бесшумность в работе. Обычно местом установки стиральной машинки является ванная комната, однако часто автомат располагается на кухне или отдельно, или как встроенный элемент. Повышенный шум в процессе стирки может создавать ощутимый дискомфорт.
Изделия, произведенные под известными брендами, действительно, в течение продолжительного времени осуществляют процесс стирки и полоскания, практически не создавая повышенного уровня шума. Когда при вращении барабана стирального автомата на различных режимах, особенно на больших оборотах при отжиме, слышен характерный гул, это является первым сигналом для починки.
Причина износа подшипников и сальника
Обычно причиной характерного гула становится чрезмерный износ подшипников, посредством которых происходит вращение стирального барабана. Конструкция подшипников бывает различной и зависит от модели, устройства и производителя.
Главными причинами выхода подшипников стирального автомата из строя является коррозия и естественный износ. И для автоматов с вертикальной, и с горизонтальной загрузкой на валу или валах барабана для исключения утечки воды устанавливаются сальники.
Обычным материалом изготовления сальников является резина.
Сальник в процессе работы непосредственно соприкасается с водой. Моющие средства в сочетании с высокой температурой воздействуют на сальник, в результате чего резина теряет свои эластичные свойства и машинка начинает протекать.
Вначале вода проникает в подшипниковый модуль. При возникновении характерного шума из узла вал – сальник – подшипник, имеет смысл обратиться для проведения ремонта к экспертам в своем деле, мастерам по ремонту стиральных машин.
Чем раньше будет произведена замена изношенных частей автомата, тем меньших проблем можно ожидать при эксплуатации автомата. Нарушение целостности или разрушение подшипника при работе машины может привести к его заиливанию. Это в свою очередь влечет за собой деформацию и поломку сопряженных деталей и узлов.
Как поменять подшипник
Замена подшипников стиральной машины является довольно непростым делом и качественная его замена возможна только при наличии профильных знаний и спецприспособлений. Для замены подшипников в некоторых моделях приходится разбирать автомат полностью. Замена сальника стиральной машины производится с заменой подшипников. С этой целью необходимо:
При проведении ремонта автоматических стиральных машин имеющих конструкцию для вертикальной загрузки, зачастую меняется подшипниковый модуль. Он выполнен в виде фланца с запрессованными в него промышленным способом подшипниками и установленными сальниками.
Как правило, в сальники помещается необходимое количество высокотемпературной специальной смазки. Она выдерживает температуру, превышающую 100*C, не теряя своей вязкости и надежно защищая сальник и подшипниковый модуль от утечек воды.
Кроме того, ремонт, произведенный модульным способом, избавляет от необходимости проведения дополнительных операций и существенно снижает временные затраты.
После проведенного ремонта барабан должен вращаться на валу свободно и без заеданий. Любой возникающий при вращении барабана звук сигнализирует о некачественно выполненном ремонте или установке непригодных запасных частей.
От используемых при ремонте запасных частей, в конечном счете, зависит межремонтный ресурс. Продолжительную и безотказную работу может гарантировать только использование при работе качественных запчастей, установленных специалистами с соблюдением технологии ремонта.
Некоторые советы
Если Вы решили поменять подшипники и сальник своими руками, то стоит учесть некоторые нюансы:
- Баки стиральных машин среди мастеров условно делятся на разборные и неразборные. С разборными все понятно, а вот неразборные приходится аккуратно распиливать по определенным меткам, при этом не задев важные элементы конструкции. После замены подшипника в таком баке, его необходимо герметично склеить, закрепив при этом саморезами или болтами.
- Бывает, что выходит из строя не только сам подшипниковый узел, но и втулка от барабана. В таком случае необходимо как минимум обкатать ее у опытного токаря. Если втулка деформировалась очень сильно, то стоит ее заменить.
- Обращайте внимание на качество покупаемых запчастей и преобретайте их только в специализированных магазинах.
- Прежде, чем заняться ремонтом самостоятельно, изучите эту тему досконально, из разных источников. Обязательно посмотрите несколько видео. В нашей группе ВКонтакте есть подробное видео о ревизии и замене подшипников: https://vk.com/remont_stiralnyh_ekaterinburg . Однако не ограничивайтесь просмотром одного источника — посмотрите где-нибудь еще.
Читайте также
Что делать, если течёт стиральная машина?
Что делать, если протекает стиральная машина? Насколько это серьёзная неполадка и какими способами её можно устранить?
Читать далее
Как определить, почему стиральная машина не включается?
Как определить, почему стиральная машина не включается? Спектр причин, способных привести к возникновению сбоя в работе машины стиральной, довольно широк. Тем не менее, последовательно выполняя ряд простых шагов по диагностике, выявить причину неисправности вполне реально.
Читать далее
Почему стиральная машина не сливает воду
Некоторые причины, по которым стиральная машинка не сливает воду, а также способы их устранения.
Читать далее
Как убрать запах из стиральной машины
Неприятному запаху в стиральной машине – бой!
Читать далее
Рекомендации мастеров по выбору стиральных машин
Какая стиральная машина лучше и как ее выбирать?
Читать далее
Что означает ошибка E13 стиральной машины Занусси
Стиральная машина Занусси выдает ошибку Е13? Не спешите вызывать мастера – прочитайте статью.
Читать далее
Инструкции по замене старых подшипников стиральной машины
Подшипники в стиральной машинке находятся в задней части барабана и способствуют бесшумной его работе.
Как понять, что нужно заменить подшипник барабана стиральной машины? Если при отжиме возникает громкий звук, наподобие рева при взлете самолета или работающей бетономешалки, то, скорее всего, ремонта не избежать.
Другой признак этой неисправности – люфт барабана. При неисправных подшипниках барабан сильно колеблется относительно бака.
Можно приобрести сразу готовый ремкомплект к вашей модели машинки, в который входят передний и задний подшипники, а также сальник. А можно приобрести все эти детали по отдельности. Заменять подшипник стиральной машины лучше сразу все для нормальной работы агрегата в будущем.
Не стоит забывать о прокладке бака, потому что он будет разделен на две половины в процессе ремонта, и когда вы будете собирать его обратно, нужно будет соединить их ровно и герметично.
Подготовка к демонтажу бака
Прежде чем начать работу, убедитесь, что машинка отключена от сети. Начинаем разбирать ее с верхней панели. Она крепится с помощью винтов под шестигранник, которые можно выкрутить, используя биту с отверткой. После того, как панель снята, извлеките дозатор для порошка.
Далее нужно открутить три болта тут же и один на передней крышке сбоку. Лучше всего запомнить очередность, в которой снимаются болты, чтобы потом правильно поставить их на место. После снятия панели становится доступным модуль управления. Можно сфотографировать его правильное положение, чтобы потом было несложно установить на место.
Потом отсоединяем декоративную панель снизу.
Отключите дренажный шланг. Затем приступайте к снятию передней панели. Обычно она крепится на четырех винтах. После этого нужно снять манжету люка, она крепится на пружинном хомуте, достаточно его потянуть и манжета снимется.
Теперь получен доступ к механизму блокировки люка, после его снятия становится возможным полностью отсоединить переднюю панель.
Теперь пришло время лотка для моющих средств. Приподнимая его, с помощью пассатижей снимите хомут со шланга подачи порошка. После этого лоток легко снимется. Смотрите видео, где наглядно показывается, как это сделать:
Потом удалите два противовеса: верхний и передний
Следующий этап – это снятие нагревательного элемента. Вначале отключите электрические разъемы, потом открутите гайку, не совсем, а вровень с краем шпильки. Надавите на гайку по направлению к середине бака и извлеките ТЭН. Смотрите на видео:
Далее отсоедините патрубок, связывающий насос с баком. Слейте остатки воды с помощью сливного шланга. Шланг прессостата должен быть откреплен от бака. Хомут патрубка нужно ослабить, откручивая винт. Последнее, что осталось сделать, это отделить жгуты от бака.
Перейдем к задней панели машинки. Снимите ее, затем нужно извлечь ремень. Для этого достаточно будет отодвинуть его в сторону, и прокрутить колесо шкива. Теперь займемся двигателем. Отключаем электрические провода и выкручиваем два болта. Осторожно снимайте двигатель, он достаточно массивный. Сзади на баке также находится камера отбора давления, она держится на зажиме.
Разбираем бак
Теперь ничего не мешает снять или разобрать бак стиральной машины. Он держится на двух пружинах и двух амортизаторах. Можно для начала извлечь амортизаторы, а потом открепить бак от пружин.
Снимайте их наиболее удобным для вас образом: откручивая верхний штифт, и оставив амортизатор на корпусе машинки, или же выкручивая нижний штифт. Теперь бак удерживается с помощью только двух пружин.
В различных моделях машин они размещаются в разных местах, после их демонтажа вы легко сможете достать бак.
Снимаем с двери манжету, предварительно разжимая пружину хомута. Чтобы непосредственно заняться заменой подшипников переверните барабан. Открутив болт, удерживающий шкив на валу, снимите шкив.
В случае износа подшипников, возможно вы заметите, что вал опустится, но будьте готовы к тому, что могут понадобиться несколько ударов по нему молотком. Молоток лучше взять резиновый, или бить, используя прокладку.
Вниз рекомендуем подложить деревянные бруски, чтобы не поломать ребра бака.
Пришло время разделить бак пополам. Обычно его половины удерживают между собой винты или защелки. Если ничего подобного нет, значит бак одноразовый, его придется распилить, а затем установить новый. После разделения бака, барабан легко извлекается из него.
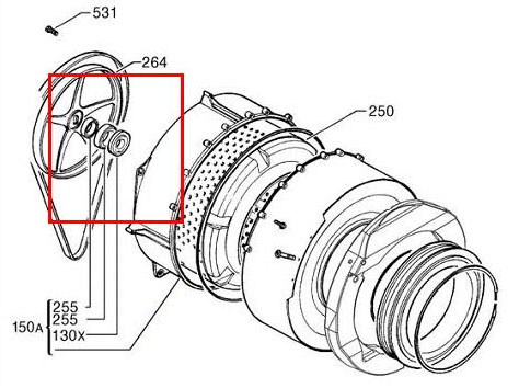
Снятие изношенных подшипников
С помощью крестовины к барабану прикреплен вал. Крестовина, покрытая известью, наглядно объясняет нам, для чего нужно пользоваться специальными средствами, предотвращающими накипь. Перед нами открывается вид на подшипники сзади барбана. Вся конструкция состоит из сальника, большого и малого подшипников. Начнем с удаления малого.
Устанавливаем бак на деревянные бруски и бьем по подшипнику по кругу, используя долото. Старайтесь при этом не испортить посадочные места подшипников. Аналогичным образом снимаем передний подшипник. Потом можно снять сальник, не страшно, если он порвется, все равно мы заменим его на новый.
С помощью мягкой ткани и средства от накипи тщательно очищаем все посадочные места, чтобы новые подшипники не засорились.
Установка новых подшипников
Устанавливаем подшипник на место, нанося удары по кругу вдоль наружной обоймы. Бить по внешнему краю важно, чтобы не сломать его. В конце установки, чтобы хорошенько усадить подшипник, можно использовать плоское долото.
Признаком того, что подшипник установлен до конца, будет его неподвижность. Над подшипником устанавливается сальник, предварительно смазанный. Его нужно поставить так, чтобы он оказался на одном уровне с нижним краем бака.
Следующим ставится верхний подшипник, таким же способом, как и верхний. После замены всей конструкции пришло время собрать бак.
Сборка бака обратно после замены подшипника барабана на стиральной машинке.
Итак, подшипники заменены, осталось собрать бак. Проверьте, чтобы вал был не загрязнен и цел. Если имеются повреждения, то возможно заменить крестовину, в тех же моделях, где вал сварен с барабаном, потребуется замена барабана целиком. Устанавливаем вал на одну из половин бака и затягиваем шкив.
Между половинами бака кладем в паз по окружности новую прокладку, обращая внимание на метку, она должна быть сверху. По периметру шов смазываем герметиком и прижимаем вторую часть бака. После чего соединение скрепляем винтами, не забывая о порядке их вкручивания. После сборки бака можно убедиться в его герметичности, набрав внутрь воды выше прокладки.
Если вода не выливается, значит все сделано правильно и работа по замене подшипников удачно завершена.
Замена подшипника стиральной машины: инструкция
Если стиральная машина внезапно начала вести себя довольно странно, дребезжать, с грохотом отжимать белье, то с большой вероятностью у вас «полетел» подшипник в барабане.
Чтобы с уверенностью сказать об этом, нужно покачать барабан. Если он сильно болтается, значит, подшипник нужно срочно сменить.
Если вовремя не решить эту проблему, то в дальнейшем это может сказаться на вашем бюджете.
Если нет желания вызывать специалиста для ремонта машинки, можно решить эту проблему самостоятельно. При наличии опыта ремонта бытовой техники и нужного инструмента замена подшипника не доставит больших хлопот.
Зачастую, от производителя стиральных машин в комплекте есть запасные части, в том числе и требуемый подшипник. Убедившись в наличии нужного инструмента и подшипника, можно собственно приступать к ремонту машинки.
[wpsm_ads1 float=»none»]
Порядок действий при ремонте
Первым делом отключите машинку от канализации и электропитания, перекройте доступ воды к ней, перекрыв все краны. Это обезопасит от травмирования, а также облегчит доступ к нужным внутренним частям машины.
После выполнения вышеуказанных манипуляций, потребуются гаечные ключи с шестигранниками для снятия верхней панели стиральной машинки. Открутите крепежные винты, снимите панель и извлеките корпус дозатора. Если он не будет сниматься, значит, у машинки есть специальные защелки, на них следует надавить, а уже потом снимать дозатор.
Откройте люк и снимите пружинный хомут манжеты с помощью круглогубцев, отжимая края манжеты руками по кругу. После чего для удобства дальнейшей работы можете заправить её внутрь.
Теперь нужно снять блокировку. Она держится на двух винтах, просовывайте руку между манжетой и стенкой машинки и выкручивайте их. Далее отсоедините остальные детали и снимите панели стиральной машинки.
Ослабьте болты на соединительном хомуте, разъедините бункер дозатора и патрубок бака. Ищем противовес, который может располагаться спереди или сзади. Во многих машинках может быть 2 противовеса. Для этого убираем всё, что может мешать их найти. Выкручиваем отверткой по два винта и снимаем противовесы.
Выполнив вышеуказанные действия, будет доступ к трубчатому электронагревателю. Располагаться он может как спереди, так и сзади, все зависит от модели изделия. Его нужно снять, выполнить эти действия можно при помощи пассатижей, открутив гайки. Не забудьте пометить провода для удобства подключения после выполнения действий по замене подшипника.
Уберите патрубок между насосом и баком. Для этого следует при помощи отвертки снять хомут и сам патрубок. Будьте внимательны, в системе, вероятно, осталась вода, которая может протечь на пол.
Далее займемся мотором, который располагается в нижней части изделия. Прокручивая шкив двигателя, снимите приводной ремень. Отсоедините провода, подведенные к мотору, не забыв предварительно пометить их очередность. Аккуратно демонтируйте двигатель. Уберите его в сторону, чтобы он не мешал работать дальше.
На очереди амортизаторы и пружины, крепящиеся в нижней части изделия, их требуется снять. Теперь нужно заняться извлечением барабана, чтобы беспрепятственно можно было сменить в нем подшипник.
Замена подшипника
Чтобы добраться до подшипника, установите бак на две планки, во избежание повреждений его после дальнейших манипуляций. Теперь необходимо снять шкив из бака. Он закреплен одним болтом. Для комфортного извлечения нужно слегка постучать по нему. Как только шкив будет извлечен, нужно разделить бак на две части, из которого вы уже можете беспрепятственно достать барабан.
Подшипники, предназначенные для замены, находятся в задней части барабана. Извлекать их следует по очереди. Если же это сделать не удается, то нужно их выбивать. Это нужно делать очень аккуратно, чтобы избежать повреждения посадочных гнёзд.
После извлечения старых подшипников, не забудьте почистить гнезда от всяческой грязи. Теперь установите новые подшипники в гнёзда. Во избежание повреждения новых подшипников, аккуратно и равномерно по всей окружности постукивайте по внешнему ободу. При установке по центру подшипников лучше не стучать.
Рекомендации по работе
Покупая запасные части для машин, не забывайте о качестве изделий, так как они напрямую влияют на долговечность работы техники.
Сборку стиральной машины совершать в обратном порядке. Запоминайте, в какой последовательности вы совершали разборку, чтобы не возникали проблемы с установкой деталей в их исходное положение. Подписывайте или помечайте провода, фотографируйте последовательность разборки. Также можно вести записи и пометки на бумаге и при сборке подглядывать в них.
Если в вашей стиральной машине Самсунг сломался нагревательный элемент (ТЭН), то вы можете это определить по оставшемуся грязным белью. Машинка просто не сможет отстирать вещи в холодной воде.
Также вы можете эту поломку определить сами по ошибке HE или TE на модуле управления.
Данная ошибка может указывать на неисправность либо самого ТЭНа, либо датчика температуры воды (термистора). В таком случае будет остановлена программа стирки, поскольку вода не нагревается до нужной температуры.
Из-за чего это происходит
Причин неисправности в общем-то немного:
- сгорел ТЭН;
- вышел из строя датчик температуры (термистор);
- неполадки в модуле управления (что в общем-то нечасто бывает при такой ошибке).
Далее следует решить, что мы будем делать — вызываем мастера по ремонту стиральных машин, либо меняем ТЭН сами. Если вы решили самостоятельно менять детали, тогда смотрим дальнейшие инструкции.
Определяемся, где расположен ТЭН
Итак, для начала нам нужно определить, где находится ТЭН в стиральной машине Самсунг.
Обратите внимание, на Самсунгах ТЭН может быть расположен как спереди, так и сзади. А поскольку заднюю крышку снимать намного проще — это всего несколько открученных саморезов, то есть смысл начать с задней крышки.
Например, на стиральных машинах Samsung Diamond с загрузкой до 5 кг, ТЭН расположен точно сзади. А вот на моделях Samsung Fuzzy, таких как S821 и S621, ТЭН расположен спереди.
Как снять переднюю панель
В любом случае начинаем со снятия верхней крышки стиральной машины. Откручиваем два самореза сзади под крышкой. Сдвигаем крышку к задней части и снимаем.
Если после снятия верхней крышки, не удается визуально определить с какой стороны машины установлен ТЭН, тогда снимаем заднюю крышку.
Если сзади машинки ТЭНа не оказалось, либо если сверху получилось определить, что ТЭН находится спереди стиральной машины Самсунг, то следуем по пунктам:
1. Вынимаем бункер-дозатор порошка и отворачиваем два винта, а также винт справа на панели управления.
2. Отстегиваем нижнюю фальшпанель.
3. Отворачиваем нижнее крепление лицевой панели.
4. Приподняв панель управления, отворачиваем винты крепления лицевой панели.
5. Снимаем наружний хомут манжеты люка, подцепив его шлицевой отверткой возле петли дверцы люка.
6. Откручиваем крепление блокиратора люка (можно оставить, но тогда осторожно с проводами блокиратора при снятии лицевой панели).
7. Снимаем лицевую панель
Внизу перед вами ТЭН.
Как проверить ТЭН
После того, как вы сняли переднюю панель, нужно определить причину неисправности. В первую очередь диагностируем мультиметром сам ТЭН. Диагностику можно провести не снимая ТЭНа.
Включаем мультиметр, проверяем его работоспособность замкнув контакты. Далее один щуп ставим на один контакт ТЭНа, второй щуп на другой контакт.
Сопротивление рабочего ТЭНа на стиральной машине Самсунг составляет 45-69 Ом, в зависимости от его мощности. А мощность ТЭНа на Самсунгах может быть от 800 до 2000 Вт. Если мультиметр показывает значение 0 или 1, ТЭН неисправен и подлежит замене.
Если с ТЭНом все в порядке, дальше диагностируем датчик температуры. Также ставим щупы на контакты.
Если значение на мультиметре 0 — датчик под замену.
Как снять ТЭН
Чтобы снять ТЭН со стиральной машины Самсунг, нужно проделать три операции:
Замена ТЭНа
Замена ТЭНа стиральной машины Самсунг своими руками не такое уж сложное дело. Перед установкой нового ТЭНа проверяем его работоспособность также мультиметром. Не забудьте капнуть немного машинного масла на резиновый уплотнитель нового ТЭНа в местах его примыкания, это ускорит его установку.
Перед установкой нового ТЭНа, не забудьте очистить от мусора днище бака. Это можно сделать как раз-таки через отверстие для установки ТЭНа.
Устанавливаем новый ТЭН, подключаем все провода и разъем термодатчика. Собираем панели стиральной машины в обратном порядке и проверяем ее работоспособность после сборки.
После замены подшипника на стиральной машине, далее устанавливается новый сальник. Но перед установкой сальник обязательно нужно смазать. Чем, читайте здесь.
Берем смазку и наносим ее сначала тонким слоем по контуру сальника, разравниваем пальцем.
После нанесения смазки на внешнюю сторону, вставляем сальник в нишу в баке. Дальше смазываем сальник по внутреннему контуру.
После этого можно продолжить сборку стиральной машины.
Посмотрите, как определить насколько качественный сальник вам продали:
Замена подшипника в стиральной машине
Наиболее вероятная причина сильного шума при отжиме это разбитый подшипник. В этом случае шум при отжиме часто напоминает гул и имеет звонкую металлическую природу. Убедиться в том что дело в подшипнике вы так же можете покачав барабан в баке вверх-вниз, если существует люфт, значит подшипник разбит и требует замены.
В этой статье я опишу замену подшипника в самом общем виде. В основном это будет касаться стиральных машин с фронтальной загрузкой. Итак замена подшипника это довольно трудоемкая задача, требующая значительного времени и усилиий. Конечно же с ней вполне можно справиться и без опыта такой замены, но опыт работы с инструментом и техникой все же потребуется.
Баки некоторых стиральных машин не разборные, в таком случае производитель предписывает замену бака с барабаном и подшипником всборе, но при желании можно «распилить» а затем поменять подшипник и спаять такой бак и таким образом сэкономить на замене бака, но я думаю это скорее не для тех кто хочет добиться результата, а для тех кто любит сам процесс, так как в этом случае время ремонта и усилия потребуется как минимум удвоить.
Весь процесс можно разбить на три простых этапа:
- Извлечение бака из стиральной машины (в некоторых моделях стиральных машин этого не потребуется)
- Собственно извлечение старых подшипников и сальника, установка новых.
- Установка всех компонентов на место.
1 Для начала выключите машину из розетки и перекройте подачу воды. Как правило, для извлечения бака вам понадобится разобрать практически всю машину. Немного проще это получится на тех моделях Electroluxe на которых корпус как бы «половинится».
Перед тем как снять клеммы разъемов управляющего модуля или патрубки дозатора, зарисуйте или сфотографируйте на сотовый их расположение, то же касается и подключения нагревательного элемента и двигателя.
Разбирая панель управления, запомните последовательность сборки ручек, иногда они просто одеваютя «снаружи» а иногда их нужно установить «изнутри» еще до установки панели управления. Заливной клапан часто можно демонтировать не отсоединяя от патрубков.
Если это возможно, то снимите с бака хотя бы один или все противовесы с бака. Часто снятие двигателя также упростит извлечение бака из корпуса стиральной машины.
2 Когда бак извлечен и с него демонтированы все детали, можно приступать к разбору самого бака и замене подшипника. Некоторые баки собраны с помощью винтов, некоторые с помощью защелок. Здесь не возникнет особых препятствий. Далее нужно снять ту часть бака в которой загрузочное отверствие и вытащить барабан из второй части бака.
Здесь могут возникнуть трудности, если хозяева слишком долго терпели шум от машинки, то коррозия могла успеть сильно повредить вал и сам внутренный подшипник. Здесь вам понадобится молоток и какие бы то ни было прокладки, чтобы удараяя по валу не повредив его, выбить вал барабана из подшипников бака.
Далее с помощью молотка и зубила необходимо выбить подшипники и сальник из корпуса барабана, очистить все поверхности и запрессовать новые подшипники и сальник. Здесь поможет специальная смазка, которую вам скорее всего предложат в том месте где вы приобретете подшипники.
Герметичность сальника обеспечивается его плотной посадкой, но можно добавить немного герметика (естественно только на его внешний диаметр!) и не пользоваться стиральной машиной сутки после сборки.
3 После всего проделанного труда остается только собрать все в обратном порядке, внимательно проверяя каждый узел. Не будет зазорным проверить все подключения на два раза.
Важный момент — убедитесь в том что посадочное место сальника на валу совершенно гладкое и не имеет ни каких задиров и неровносетй, иначе эти дефекты сотрут резиновый сальник и вода снова разрушит подшипник.
Если при сборке использовался герметик, то необходимо дать ему высохнуть в течение суток (не заливать воду в машинку) Часто при полной разборке стиральной машины становится очевидной необходимость замены таких расходников как нагревательный элемент, помпа и щетки. И это подходящий случай чтоб заменить их если это нужно.
Видео еще одной замены подшипников:
На следующем фото замена подшипников на Bosch Maxx7, барабан уже извлечен из бака.
Далее замена подшипника на Siemens Sevamat. Здесь бак еще не извлечен из корпуса стиральной машины.
- Стиральная машина не крутит барабан
- Коды ошибок стиральных машин Samsung











