Диагностика тормозной системы автомобиля — все, что нужно знать
Нельзя поспорить на тему того, что автомобиль считается достаточно опасным транспортным средством. Не многие люди знают, что даже такое сложное техническое средство как самолет, гораздо безопаснее. А ведь большинство автомобильных исправностей случается из-за банальной халатности его владельца.
Не усмотрел одно, не докрутил другое, не долил туда, куда надо – вот все то, что может нарушить техническое состояние автотранспортного средства. И иногда случается, что эта халатность доводит до не самых приятных вещей. Чтобы этого не допустить нужно тщательно следить за состоянием всех агрегатов вашего авто. Один из них – тормозная система.
Как же проводиться диагностика тормозной системы?
Диагностика тормозной системы – зачем?
Если вы сторонник мнения о том, что тормоза придумали трусы, то спешим вас разубедить в этом. Тормозная система считается одной из важнейших систем в вашем автомобиле, отвечающих за безопасность.
Именно поэтому своевременно необходимо проводить ее диагностику. Обычно, диагностика тормозной системы проводится при прохождении планового ТО.
Оно в свою очередь проводится, следуя указаниям автопроизводителя.
Если же вы обнаружили явное ухудшение технического состояния тормозной системы вашего автомобиля, то можно произвести диагностику самостоятельно.
Обратите внимание
Как правило, в этой процедуре нет ничего сложного и с простой заменой колодок справиться каждый человек, который хоть немного разбирается в технике.
Если же вы решили доверить работу мастеру, то можно отправить машину в сервис, где тормозную систему автомобиля смогут проверить с помощью специального оборудования.
В каких случаях необходима диагностика?
Прежде чем вы решите заняться ремонтом тормозной системы самостоятельно, необходимо понять, действительно ли она неисправна. Обычно, на неудовлетворительное техническое состояние тормозов указывает один или несколько признаков:
- Тормозной путь автомобиля заметно увеличился
- Педаль тормоза работает некорректно – то глубоко уходит вниз, то вовсе заедает
- Педаль тормоза нажимается, но ее движение происходит по кривой траектории
- Тормозная система, представленная колодками, постоянно издает гул, скрипы и сильную вибрацию при торможении
- Тормозная жидкость, прокачивающая систему, стала расходоваться слишком быстро, видны явные подтеки
Помимо приведенных выше явных признаков, встречаются и более скрытные проблемы, которые также могут возникнуть. В случае если вы сняли колеса и перед вами в открытом доступе находятся колодки, то вы можете обратить внимание на степень их износа.
Явным признаком того, что система работает некорректно является неравномерный износ колодок. Также, просматривая автомобиль самостоятельно в поисках проблем, обратите внимание на шланги и тормозные трубки. Вполне возможно, что и они были повреждены.
Диагностика тормозной системы автомобиля на стенде
Если же вы решили доверить работу мастерам своего дела, или у вас просто нет времени заниматься автомобилем самостоятельно, то вполне разумно будет обратиться в специализированный сервис.
Главным достоинством этого способа является то, что вы получаете высококвалифицированную помощь специалистов, которые быстро и качественно устранят все неполадки тормозной системы. Однако перед их устранением, необходимо произвести диагностику.
В таких сервисах она проводится на специально предназначенных для этого стендах.
Как правило, стенды, которые размещены в сервисах автомобильного обслуживания, являются многофункциональными. На них же вы можете замерить и максимальную скорость автомобиля, и время разгона и другие интересующие вас параметры. Однако наша цель, произвести диагностику тормозной системы. При проверке ее технического состояния, стенд выдает следующие показатели для анализа:
- Общая удельная сила торможения
- Величина коэффициента относительной неравномерности
- Параметры асинхронной отработки
Стоит понимать, что такое оборудование как стенд, является достаточно дорогостоящим удовольствием, поэтому маленькие сервисы не могут себе его позволить.
А вот стенды, установленные в крупных автомобильных сервисах, делятся на несколько типов. Либо они установлены как отдельное оборудование, либо составляют с напольным покрытием одно целое.
Единственное замечание, зона для размещения автомобиля имитирует асфальтное покрытие.
Что еще входит в диагностику?
Помимо того, что автомобиль проверяется на специальном стенде, проводится и визуальный осмотр всех агрегатов, относящихся к тормозной системе в целом. Обычно это делает тот же человек, что и запускает процесс диагностирования на стенде, так как изучив данные о работе системы, можно сразу предположить, что конкретно неисправно.
Тщательному осмотру подлежит целый ряд деталей, которые могут повлиять на некорректную работу тормозов, со всеми вытекающими. Как правило, осмотр проходит по списку:
Подведение итогов и ремонт
После того, как автомобиль и его тормозная система были полностью продиагностированы, а все детали тщательно осмотрены, приходит время подведения итогов. Здесь вам озвучивается конкретный список неисправностей и деталей, которые необходимо заменить.
Как правило, полный ремонт тормозной системы производится раз в 30-40 тысяч километров. Однако стоит учитывать тот факт, что все зависит от вашего стиля вождения. Если вы редко прибегаете к экстренному торможению, и умеете правильно пользоваться педалью тормоза, то вряд ли вам придется столкнуться с такой проблемой, как диагностика тормозной системы автомобиля.
Диагностика технического состояния тормозной системы автомобиля
Диагностика проводится при ходовых или стендовых испытаниях. Ходовые испытания позволяют оценить эффективность действия тормозной системы по замедлению и тормозному пути автомобиля. Испытания проводят на ровном сухом горизонтальном участке дороги с коэффициентом сцепления не менее 0,6.
Автомобиль разгоняют до скорости 30 км/ч и резко тормозят нажатием на педаль рабочей системы тормозов при выключенном сцеплении. Замедление при этом определяют деселерометром, а тормозной путь — по следам шин на дороге. Тормозной путь при торможении со скорости 40 км/ч не должен превышать для автомобилей ГАЗ-24 «Волга» и УАЗ-16 2 м.
Максимальное замедление для тех же условий должно быть не менее 5,2 м/с2.
Стендовые испытания тормозной системы автомобиля выполняют на роликовом стенде с электроприводом. Принцип определения тормозных свойств автомобиля на роликовом стенде состоит в следующем. Автомобиль устанавливают задними и передними колесами на ролики или барабаны стенда.
Доводят окружную скорость вращения колес до 50 70 км/ч и резко тормозят автомобиль, разобщая барабаны от привода. При этом в местах контакта колес с барабанами возникают силы, противодействующие тормозным силам.
Замеряя время, угловое замедление или частоту вращения барабанов до момента остановки колес, можно определить тормозной путь, а следовательно, и эффективность действия тормозной системы автомобиля.
На роликовом стенде можно непосредственно измерить тормозной момент на колесах по величине крутящего реактивного момента на барабанах.
Неисправности тормозной системы при диагностике обнаруживают по ходу педали тормоза, зазору между колодками и барабаном, сопротивлению вращению незаторможенного колеса и скорости оттормаживания.
Основные работы по техническому обслуживанию тормозной системы.
Важно
При ежедневном обслуживании проверяют действие тормозной системы при движеиии автомобиля, герметичность соединений трубопроводов и деталей привода по подтеканию жидкости, действие гидровакуумного усилителя тормозов (у автомобиля ГАЗ-24 «Волга»)
Первое техническое обслуживание включает следующие дополнительные работы: проверку величины свободного и рабочего хода педали тормоза и рычага стояночного тормоза. При необходимости проводят соответствующую регулировку.
Проверяют также крепление главного тормозного, цилиндра, уровень жидкости в его резервуаре, смазывают оси педалей и другие детали привода стояночного тормоза.
При втором техническом обслуживании проверяют дополнительно состояние тормозных накладок, стяжных пружин, колесных тормозных цилиндров.
«Автомобиль категории «В»,
В.М.Кленников, Н.М.Ильин, Ю.В.Буралев
Загрузка…
Диагностика тормозных систем
Опубликовано: 2015-11-21 19:29:30
Диагностика – определение технического состояния автомобиля и его систем без разборки и с использованием специализированного оборудования. Основной и первостепенной задачей диагностики автомобилей является выявление возможной неисправности в машине еще до того, как она заявит про себя.
Конечно же, производятся диагностические операции для того, чтобы вовремя обнаружить неисправность и всеми возможными способами избежать дорогостоящих ремонтов авто, а тем самым продлить его ресурс, обеспечить надежную долговечную работу и материальное и моральное спокойствие владельца машины, что тоже немаловажно.
Конечно же, для каждого владельца автомобиля основным и небезразличным будет являться внешний вид его железного друга, и, как бы это странно не звучало, но встречают то по одежке! Всегда хочется видеть автомобиль чистеньким и сверкающим краской, будто только что с заводского конвейера.
На втором месте беспрекословно находится надежность автомобиля – его способность уверенно и качественно выполнять свою первостепенную транспортную работу. Здесь, конечно же, огромное внимание уделяется двигателю с его системами, а также диагностированию подвергаются системы машины, что непосредственно отвечают за безопасность дорожного движения.
Одна из таких систем и, пожалуй, самая важная – это тормозная система автомобиля. Предназначена она для возможности снижения его скорости, остановки и удержания в неподвижном состоянии во время стоянки. Давайте подробно разберемся, на что необходимо обращать внимание при диагностировании тормозных систем и что же непосредственно там проверять.
Хотелось бы отметить, что тормозная система автомобиля отвечает непосредственно за безопасность дорожного движения. Должна работать эффективно и без каких-либо нареканий, поэтому в диагностике технического состояния данной системы необходимо уделять огромнейшее внимание при каждом техническом обслуживании!!! Удачного движения!
Как проводить диагностику тормозной системы – общие рекомендации
Бесперебойная работа тормозной системы не повышается из-за торможений перед светофором, больших зазоров, дорожного покрытия и национальных признаков управления машиной.
Тормозная система, в которую входит в том числе, передний тормозной механизм, постоянно испытывает серьёзные нагрузки. Это повышает вероятность аварии, ведь детали и внутренние механизмы, такие, как задний тормозной механизм, выходят из строя быстрее. Потому возникает необходимость в проведении такой процедуры, как диагностика.
Диагностика тормозной системы: раньше и сейчас. Как проводится.
Совсем недавно многие специалисты рекомендовали заниматься таким делом, как диагностика тормозной системы, через каждые пять тысяч километров пробега автомобиля.
Теперь показатель стал гораздо меньше. Ведь тормозная система обязательно проверяется специалистами при прохождении техосмотра.
Два раза в год – минимальное количество раз, по мнению экспертов, когда должна проводиться такая диагностика.
Диагностика тормозной системы включает в себя проверку:
Диагностика тормозной системы: способы и методы
Существует два основных метода, которыми проводится проверка тормозной системы в любом автомобиле. Это тест на стенде и дорожный тест.
Дорожный тест
Дорожным тестом сама по себе выступает любая поездка на транспорте. Даже новички могут чувствовать, когда при торможении без давления на руль машина отклоняется в сторону.
Не должны остаться без внимания скрипы и лишние шумы, провал педали тормоза в пол, повышение тормозного пути и вибрации.
Это всё свидетельствует о том, что присутствуют неисправности тормозной системы.
Стендовый тест
В полевых условиях провести качественную диагностику практически невозможно. Получается лишь минимальная информация о существующих проблемах в машине.
Существует множество факторов, которые могут повлиять на результат проверок, проведённых в дорожных условиях. А вот при проведении стендовых испытаний возможно получить более точную информацию.
Все полученные данные обязательно записываются на каких-либо носителях.
При помощи специальных программ на компьютере в дальнейшем полученная информация обрабатывается. Таким образом, можно понять, в каком действительно состояния находятся тормоза.
Совет
Стенды для испытаний могут относиться к нескольким типам. Стенды для статических испытаний, площадочные и инерционные, роликовые и силовые – главные типы. Овальность тормозных барабанов, время срабатывания системы, общая удельная тормозная сила – лишь некоторые из характеристик, показатели которых можно узнать на стенде.
Усилие на педаль тормоза, давление в системе тормозов – имеется прекрасная возможность измерить эти показатели, обратившись за помощью к современным сервисным центрам.
Датчики и приборы на вооружении специалистов вполне позволяют провести соответствующие исследования. Человеческий фактор практически не влияет на испытания, которые проводятся на стенде.
Это, безусловно, является большим преимуществом таких проверок.
Тормоза в системе автомобиля будут надёжно функционировать только в том случае, если человек готов будет тратить время на то, что вовремя выполнять проверки, согласуясь с рекомендациями от специалистов.
Конечно, стендовые проверки обходятся дороже, но ведь никогда не стоит экономить на собственной безопасности. Стенд для статических тестов позволяет водителям самостоятельно проводить проверки своих машин.
Но в любом случае ещё раз повторяем, что на безопасности водителей и пассажиров лучше не экономить. Только профессиональная проверка позволит полностью быть уверенным в своей машине.
Диагностируем тормозную систему своими руками
Наверное, ни одна из систем автомобиля не нуждается в такой исправности как тормозная, в противном случае о последствиях, думаем, говорить нет смысла.
Периодическая диагностика тормозной системы – доказательство того, что тормоза не подведут вас ни в какой, даже в самой критической ситуации.
Ну и самое важное – провести диагностику самостоятельно под силу каждому автовладельцу, к тому же подобная процедура не требует ни специальных инструментов, ни определенных навыков.
Обратите внимание
Все, что вам потребуется – это чистая тряпочка, стандартный набор инструментов, рулетка или линейка и небольшая канистра тормозной жидкости.
Приступать к диагностике тормозной системы следует с контроля уровня тормозной жидкости.
Стоит отметить, что подобную процедуру необходимо проводить периодически, хотя бы раз в месяц, она также требуется после того, как был прокачен гидропровод, ну и естественно, когда система сама сигнализирует о недостатке жидкости.
Контроль тормозной жидкости – это довольно простая задача, которую можно произвести визуально, поскольку на бачке с тормозной жидкостью имеются два деления – минимум и максимум, нормой считается, когда уровень тормозухи находится между ними.
Если вы установили недостаточность жидкости, то необходимо ее немедленно долить – отсоединив наконечник жгута провода, отвинтите крышечку бачка и налейте заранее приготовленную (обязательно новую) тормозную жидкость до максимальной отметки.
После этого плотно закрутите крышку, подсоедините в обратной последовательности все жгуты.
Убедиться, что вы все сделали правильно, можно при работающем двигателе по контрольной лампочке на приборной панели, которая должна загореться при надавливании на крышку бачка.
Диагностика всей тормозной системы
После выше проведенной операции уделить внимание следует вакуумному усилителю тормозов. Стоит отметить, что данную процедуру необходимо осуществлять при выключенном зажигании, поэтому если до этого мотор работал, его необходимо заглушить.
Теперь вам нужно заняться прокачкой тормозов — с интервалом нажимайте на тормоз, продолжать необходимо до полного исчезновения шипения в усилителе. Затем, нажав на педаль, нужно запустить двигатель.
Об исправности можно судить по педали, немного ушедшей вниз.
Уделите внимание и ходу рычага стояночного тормоза.
О том, что он находится в порядке, сообщит ход примерно в три щелчка, к тому же ручник должен без напряжения держать автомобиль, стоящий на спуске примерно в 23 градуса.
Важно
Если хотя бы с одним из заданий стояночный тормоз не справляется, необходимо провести замену вышедших из строя деталей, рекомендуем с этим не затягивать, ведь о последствиях вы догадываетесь, думаем, сами.
Ну и завершающим этапом при диагностике тормозной системы является проверка изношенности тормозных колодок, о подобной процедуре мы уже писали, поэтому дублировать темы не будем. Если в ходе проверки была установлена необходимость замены колодок, то ее требуется провести безотлагательно, ведь с тормозами, как мы уже не раз говорили, шутки очень плохи.
Вот такой представляется диагностика тормозной системы своими силами. Согласитесь, при достаточном количестве свободного времени, наличии терпения и желания ее довольно просто осуществить. И еще раз призываем вас при обнаружении неисправностей безотлагательно их устранять, поскольку последствия будут крайне печальными.
Напоследок, какая бы система в автомобиле не нуждалась в диагностике или ремонте не следует откладывать удовлетворение данной потребности в долгий ящик.
Помните: железный конь не прощает к себе халатного отношения и безразличия, ведь он, в первую очередь, ваш боевой товарищ, с которым вы и в огонь, и в воду и сквозь медные трубы, в его преданности и надежности вы должны быть уверены на 100% в любое время, иначе, даже самая незначительная проблемка превратится в проблему глобального масштаба.
Диагностика тормозной системы
Главная | Услуги | Слесарный ремонт | Диагностика тормозной системы
Как говорят бывалые водители – от неисправной педали акселератора в ДТП не разбиваются. А вот неисправной педали тормоза – запросто.
Набрав скорость, автомобиль (как правило, массой более тонны) получает такой запас инерции, что для его остановки требуется огромное усилие.
Исправность тормозной системы напрямую связана с безопасностью водителя и пассажиров.
Совет
Система торможения в современных автомобилях достаточно надежна, иначе автопроизводители не смогут сертифицировать свой продукт. Существует встроенная диагностика тормозной системы, трубопроводы выполнены в виде двух равнозначных и независимых контуров.
Тем не менее, статистика ДТП по причине отказавших тормозов неутешительна. Речь идет не только о невозможности вовремя остановиться. Неравномерное распределение усилий между колесами, ранняя блокировка, приводят к потере управляемости и заносу.
То есть, автомобиль вроде как замедляется, но тормозная система сама по себе становится источником опасности.
Ситуацию усугубляет большое количество автомобилей с солидным пробегом. Владельцы, как правило, нерадиво относятся к обслуживанию таких авто, ведь гарантия давно кончилась, а уверенность в надежности своего железного коня напротив, укрепляется. А простая диагностика тормозной системы поможет не только избежать неприятностей, но и возможно спасет вашу жизнь.
Признаки неисправности тормозной системы
- Исчезла привычная хваткость – при одинаковом положении педали, торможение более вялое.
- Увеличен ход педали тормоза.
- При торможении автомобиль уводит в сторону.
- Главный тормозной цилиндр имеет люфт.
- Неоправданное снижение уровня тормозной жидкости.
- «Потение» тормозных шлангов или соединительных элементов.
- Потеки на элементах системы.
- Кратковременное загорание лампы «неисправная тормозная система» на щитке приборов.
- Посторонние звуки в районе колес при торможении.
- Капли тормозной жидкости на месте стоянки авто.
Разумеется, при явном отказе тормозов, диагностика тормозной системы не требуется. Необходим срочный ремонт, поскольку эксплуатация автомобиля в этом случае запрещена.
При появлении любого из перечисленных признаков, рекомендуем обратиться в наш сервис для обследования и предупреждения серьезных поломок.
Как часто проверяется тормозная система?
Периодичность диагностики определена в сервисной книжке, там есть перечень работ во время проведения технического обслуживания. Предусмотрена и ежедневная проверка, которую вы сможете проводить самостоятельно.
А вот детальная проверка, с измерением параметров, возможна лишь на профессиональном сервисе.
Если вы по каким-то причинам не проводите регулярное ТО, наша СТО поможет вам оценить состояние тормозов с помощью профессионального стендового оборудования.
Мы рекомендуем проводить диагностику при сезонной смене резины и перед поездками на дальние расстояния. Разумеется, после смены жидкости проверка обязательна.
Что включает в себя диагностика тормозной системы?
Помимо стандартных динамических тестов, при которых оценивается тормозной путь, мы работаем по заводскому алгоритму.
Основная же диагностика тормозной системы производится на стенде. С помощью замеров, оцениваются все динамические параметры. Тормозная система проверяется в рабочих, аварийных и экстремальных режимах.
Точность измерения определяется классом прибора.
Наш сервис располагает универсальным оборудованием, на котором можно не только тестировать, но и производить настройку главного тормозного цилиндра и остальных элементов системы.
Можно ли самостоятельно диагностировать систему?
Специалисты нашего сервиса категорически не рекомендуют этого делать. Неправильно проведенная диагностика тормозной системы не только может повредить какой-нибудь компонент. Вы можете сделать неверные выводы по поводу исправности тормозов. А затем, в ответственный момент система вас подведет. То же самое касается специалистов непрофессионалов.
Если работы производятся на дилерской станции, качество гарантировано. Но стоимость диагностики будет слишком высокой. При этом оборудование используется одно и то же.
Обратите внимание
После проведения диагностики, наш сервис предложит вам оптимальный с точки зрения затрат, ремонт. Вы оплачиваете только реальные работы, по гибким тарифам.
На дилерской СТО вам будут навязаны обязательные процедуры, установленные изготовителем.
Стоимость диагностики тормозной системы
Стоимость диагностики тормозной системы составляет 400 руб. Самостоятельно рассчитать стоимость ремонта тормозной системы Вы можете в нашем слесарном калькуляторе.
Диагностируем тормозную систему автомобиля и сами устраняем неисправности
Тормозная система автомобиля
Проверку тормозной системы нужно делать регулярно, чтобы не пришлось попасть в страшные аварийные ситуации. При неисправных тормозах машины подвергаются опасности все участники движения на дороге, а в первую очередь – сам водитель.
Маленькие неисправности нужно исправить, не доводя дело до сложного ремонта. Опытный водитель всегда сначала обращает внимание на тормоза, а не на внешний вид автомобиля.
Безопасность увеличится, если легким нажатием на педаль автомобиль быстро остановится.
Неисправность системы ABS
Если у автомобиля нет системы ABS, его может развернуть поперек движения или вынести на встречную полосу. Такое может произойти, когда на обледенелой полосе правые колеса будут тормозить на льду по обочине, а левые колеса находятся на мокром асфальте. Чтобы этого не случилось, важно хорошо следить за работой ABS. ABS сможет прекратить скольжение автомобиля вбок при торможении.
Торможение происходит самопроизвольно
Если двигатель работает и произошло произвольное торможение, то это может означать, что неполадки возникли с вакуумным усилителем тормозов. В этом случае происходит подсос воздуха в корпус вакуумного усилителя. Это может произойти между защитным колпаком и корпусом клапана. Причиной может быть плохая фиксация уплотнителя крышки или его перекос.
Прочие неисправности
Всегда нужно проверять тормозную жидкость, она не должна быть черной. Если она будет черного цвета, то тормозные свойства снижаются. Тормозная жидкость уже не сможет оказать хорошего давления в тормозных цилиндрах. Когда жидкость разъедает сальники и начинает течь, то давление на тормозные колодки резко падает, а там и до аварии останется совсем недалеко.
Тормозная жидкость автомобиля
На неисправность тормозов могут указывать их скрип, утечка жидкости, легкий ход педали и длинный тормозной путь. Это может произойти при нерегулярной замене жидкости, при износе тормозных колодок или при нарушении герметичности системы. Если в машине присутствует хотя бы один из таких признаков, то обязательно нужно проводить диагностику автомобиля.
Какую тормозную жидкость выбрать: результаты теста
Диагностика
Сначала проверяется герметичность всех соединений. Важно посмотреть вакуумный усилитель. При работающем двигателе нужно надавить педаль тормоза. Посмотреть на панели, как работают индикаторы. Пневматический привод на герметичность проверяется при неработающем двигателе.
Небольшие утечки легко улавливаются на слух. Места, где соединяются трубопроводы можно смазать мыльным раствором. При утечке вздуются мыльные пузыри.
При устранении любой неисправности обязательно зафиксируйте свой автомобиль. При неисправности колесных цилиндров нужно произвести их замену. При этом, колодки и барабаны хорошо промываются и просушиваются. Потом нужно прокачать систему всего гидропривода.
Когда педаль тормоза проваливается, то в системе присутствует воздух, который обязательно нужно удалить. Перед удалением воздуха обязательно проверяется уровень тормозной жидкости. Если жидкости меньше допустимой нормы, то ее нужно добавить.
С клапана, выпускающего воздух, нужно снять резиновый колпачок. Он находится в цилиндре заднего правого колеса. Надевают шланг на штуцер клапана, другой конец опускается в стеклянную банку с тормозной жидкостью. 5 — 6 раз нажимают педаль тормоза. Удерживая педаль, на два оборота отворачивают штуцер.
Снова 5 раз нажимают педаль и медленно отпускают. Делать это нужно несколько раз, пока в банку с жидкостью не престанут выходить пузырьки. Когда перестанет идти воздух, нужно завернуть до конца штуцер (педаль должна быть нажата). Потом шланги нужно отсоединить и поставить на свое место колпачок.
Если слышен скрип, а машину заносит при торможении, то может быть, замаслились тормозные колодки. Колодки промываются в моющем средстве теплой водой. Потом их нужно хорошо просушить. Затем колодки отшлифовывают и удаляют с них пыль.
При стирании тормозных колодок не будет равномерного шума. Чтобы тормозной диск не испортить, колодки на нем необходимо срочно заменить. Для этого придется зафиксировать ваш автомобиль, снять колеса.
Важно
Руль нужно повернуть вправо до отказа, так легче дотянуться до колодок. Снять тормозные шланги на стойках. Баллонным ключом нужно утопить поршень тормозного суппорта.
Надо следить за тем, чтобы уровень тормозной жидкости не был выше положенного. Потом отгибают тормозной шланг и тормозную скобу, открутив болты.
Теперь можно устанавливать новые колодки, завернуть болты и возвратить все на место.
При тугом движении тормозной педали может быть сломан вакуумный усилитель или неисправна герметика трубопровода. Нужно заменить сломанные детали вакуумного усилителя, а то место, где нарушена герметика шланга можно покрыть специальной пастой.
При самопроизвольном торможении может быть нарушено положение суппорта. Придется просто подтянуть болты. Если бензин попадет в тормозную жидкость, колеса могут немного подтормаживать.
Это может произойти при разбухании уплотнителя на тормозном цилиндре. При этой неисправности нужно промыть всю систему и заменить сломанные детали.
После замены деталей, нужно прокачать всю систему гидравлического привода.
Тормозные шланги могут повредиться механически или при долгом их использовании. Не нужно пытаться их ремонтировать «дедовскими способами», лучше будет их сразу поменять на новые. Мастера рекомендуют ежегодно полностью менять всю тормозную жидкость. Из главного бочка тормозного цилиндра остатки тормозной жидкости удаляются при помощи спринцовки или шприца.
Все эти простые действия смогут содержать тормозную систему в надлежащем виде и обезопасить вас на дороге.
17.3. Проверка технического состояния тормозной системы
Тормозную систему проверяют на сухой, чистой и достаточно ровной площадке с хорошим покрытием. Надежная проверка состояния тормозной системы на влажной или покрытой грязью (в том числе сухим песком) площадке будет затруднена из-за различного сцепления шин с покрытием.
Неровное покрытие также не пригодно для проверки тормозной системы из-за сильных вертикальных колебаний колес. Тормозную систему следует проверять при различной интенсивности торможения и различных скоростях автомобиля. Во всех случаях надо избегать блокировки и скольжения колес.
Блокировка колес не говорит об эффективном торможении, поскольку тормозной путь при этом получается больше по сравнению с торможением на пределе сцепления, когда заторможенные колеса продолжают вращаться. Это объясняется тем, что блокировка колеса сопровождается падением сцепления шины с покрытием дороги.
Тормозная система автомобиля сконструирована так, чтобы снизить вероятность блокировки колес в большинстве случаев, наиболее часто встречающихся в обычной эксплуатации, за исключением быть может достаточно редких аварийных торможений с предельно большим замедлением.
Совет
Торможение автомобиля без блокировки колес не только сокращает тормозной путь, но и обеспечивает сохранение устойчивости и управляемости автомобиля.
При больших замедлениях тормозная педаль становится более “жесткой”.
Внешние факторы, влияющие на работу тормозной системы:
1) Шины. Шины, имеющие различный контакт и сцепление с дорогой, будут тормозить по-разному. Необходимо поддерживать в шинах одинаковое давление воздуха. Шины, расположенные на одной оси, должны иметь примерно одинаковую глубину рисунка протектора.
2) Нагрузка автомобиля. При неравномерной загрузке автомобиля те колеса, на которые приходится большая доля нагрузки, требуют и большего тормозного момента, чем остальные. Для торможения полностью груженого автомобиля необходимы более высокие усилия на тормозной педали.
3) Углы установки колес. Нарушение правильных углов установки колес, особенно раздала и продольного наклона оси поворота, приводит при торможении к уводу автомобиля в сторону.
Тормозная система оснащена сигнализатором неисправности BRAKE, который расположен на приборной доске. При повороте ключа зажигания в положение START сигнализатор BRAKE должен загореться. После возврата ключа в положение RUN сигнализатор выключается. Сигнализатор BRAKE включается в следующих случаях:
– при включении стояночного тормоза (зажигание включено);
– при падении уровня тормозной жидкости в бачке главного тормозного цилиндра.
При работающем на холостом ходу двигателе и нейтрали в коробке передач нажать и удерживать тормозную педаль с постоянным усилием. Если тормозная педаль медленно опускается, то возможной причиной этого являются утечки тормозной жидкости.
Необходимо осмотреть всю тормозную систему на наличие неплотностей. Проверить уровень тормозной жидкости в бачке. Небольшое снижение уровня жидкости может быть обусловлено нормальным износом тормозных колодок. Сильное падение уровня может свидетельствовать о наличии утечек жидкости.
В тормозном гидроприводе возможны как внутренние, так и внешние утечки жидкости. Если уровень тормозной жидкости нормальный, следует проверить длину толкателя вакуумного усилителя. Если длина толкателя отличается от нормы, необходимо отрегулировать или заменить толкатель.
Проверить регулировку рабочей тормозной системы и стояночного тормоза.
Обратите внимание
Нижеприведенные проверки главного тормозного цилиндра не гарантируют обнаружения всех возможных неисправностей узла.
1) Проверить наличие трещин корпуса цилиндра и следов тормозной жидкости на внешней поверхности цилиндра. Об утечках свидетельствует падение капель тормозной жидкости. Увлажнение цилиндра снаружи является допустимым.
2) Проверить наличие заеданий в приводе педали и длину толкателя. Если неисправности не обнаружено, демонтировать и разобрать цилиндр. Проверить состояние уплотнений цилиндра и поршней.
Если уплотнения разбухли или удлинились, возможной причиной этого является неподходящая или загрязненная посторонними веществами тормозная жидкость. В этом случае необходи мо полностью разобрать цилиндр и промыть все детали.
Резиновые детали подлежат обязательной замене. Следует также промыть весь гидропривод тормозной системы.
Применение нерекомендованных марок тормозных жидкостей, а также попадание в гидропривод минерального масла или воды приводит к снижению температуры кипения рабочей жидкости и выходу из строя резиновых уплотнений.
Разбухание наружных уплотнительных чехлов на главном или колесных тормозных цилиндрах свидетельствует о выходе из строя внутренних резиновых уплотнений.
При обнаружении признаков разбухания резиновых деталей необходимо разобрать и полностью промыть весь гидропривод спиртом. Перед сборкой необходимо высушить струей сжатого воздуха все детали гидропривода для исключения попадания в тормозную систему спирта. Резиновые детали, включая тормозные шланги, подлежат замене.
Важно
Следует также проверить наличие следов тормозной жидкости на тормозных накладках. При сильном загрязнении накладок их надо заменить. Если уплотнения главного тормозного цилиндра в порядке, возможной причиной является перегрев тормозной жидкости.
При отсутствии перегрева следует слить тормозную жидкость, промыть систему свежей тормозной жидкостью, залить новую тормозную жидкость и удалить воздух из гидропривода.
Водитель, выезжая на линию, должен помнить, что тормоза — это одна из основных систем, обеспечивающих надежность и безопасность управления автомобилем.
Отказы и неисправности тормозной системы автомобиля заключаются в нарушении работоспособности тормозных механизмов и тормозного привода, в результате которой происходит полная или частичная потеря эффективности торможения автомобиля.
Неисправностями тормозного механизма являются: износ накладок тормозных колодок и износ барабанов, увеличение зазоров между ними, замасливание, заклинивание колодок, приводящее к нагреву тормозных барабанов.
Неисправностями гидравлического привода тормозов являются: потеря
герметичности (подтекание через манжеты колесных тормозных цилиндров и соединения шлангов); недостаточный уровень тормозной жидкости в резервуаре тормозного цилиндра; увеличенный ход тормозной педали; притормаживание колес на ходу.
Неисправностями пневматического тормозного привода являются: потеря герметичности в соединениях, понижение давления воздуха в системе ниже нормы; недостаточное давление в системе из-за неисправности компрессора; притормаживание на ходу из-за неплотностей посадки клапанов управления.
Неисправности привода стояночного тормоза заключаются в вытягивании и повреждении тяг или тросов, их заедании.
Основные признаки неисправности тормозной системы — увеличение длины пути торможения (при одинаковом состоянии дороги и той же скороти) и стремление автомобиля ю заносу при торможении, нагревание тормозных барабанов.
Совет
Увеличенный свободный ход педали наблюдается из-за увеличения зазоров между накладками колодок и тормозными барабанами, между штоком и поршнем главного тормозного цилиндра, а также из-за уменьшения избыточного давления в системе в результате неисправностей клапана и возвратной пружины поршня главного цилиндра. Причиной является также недостаточный уровень тормозной жидкости в резервуаре главного цилиндра.
Подтекание и недостаточный уровень жидкости в гидроприводе способствуют проникновению воздуха в систему привода, что сопровождается «проваливанием» педали. Тормоза при этом начинают действовать лишь после нескольких нажатий на педаль. Набухание манжет приводит к заеданию тормозов.
Причинами нагрева тормозных барабанов могут быть притормаживание одного или нескольких колес, ослабление или поломка стяжной пружины тормозных колодок, заедание поршня в колесном цилиндре (гидропривод), недостаточный зазор между накладками колодок и барабанов и др.
Рис. 30.27. Деселерометр маятникового типа
Эффективность тормозов можно проверить методами ходовых испытаний и стационарными на специальных стендах.
Тормозные качества автомобиля при ходовых испытаниях оцениваются по двум показателям: тормозному пути и максимальному замедлению.
В первом случае автомобиль разгоняют до скорости 40 км/ч на горизонтальном, ровном и сухом участке дороги (при нормальном давлении воздуха в шинах) и производят экстренное торможение (при выключенном сцеплении).
Наибольший тормозной путь для легковых автомобилей должен быть 14,5 м, для грузовых автомобилей и автобусов—19,0— 22,1 м в зависимости от собственной массы автомобиля и скорости движения.
По степени сходства между собой следов, оставляемых колесами на дороге, и признакам заноса судят о синхронности торможения.
Обратите внимание
Результаты испытания считают неудовлетворительными, если для сохранения прямолинейного направления в процессе торможения водитель должен исправлять траекторию движения.
Хотя такой метод контроля тормозов широко распространен, пользоваться им следует в крайних случаях, так как он неточен и ведет к интенсивному изнашиванию шин.
При втором случае проверки эффективность тормозов оценивают по максимальному замедлению, определяемому деселерометром маятникового типа (рис. 30.27), жидкостным или с поступательно-движу-щейся массой.
Деселерометр при помощи резиновых присосов устанавливают на стекле двери или лобовом стекле кабины или кузова автомобиля так, чтобы направление качания маятника совпало с направлением движения автомобиля.
Для легковых автомобилей замедление должно быть не ниже 5,8 м/с2, для грузовых автомобилей и автобусов — 5—4,2 м/с2. Замедление определяют экстренным торможением автомобиля с любой скорости движения.
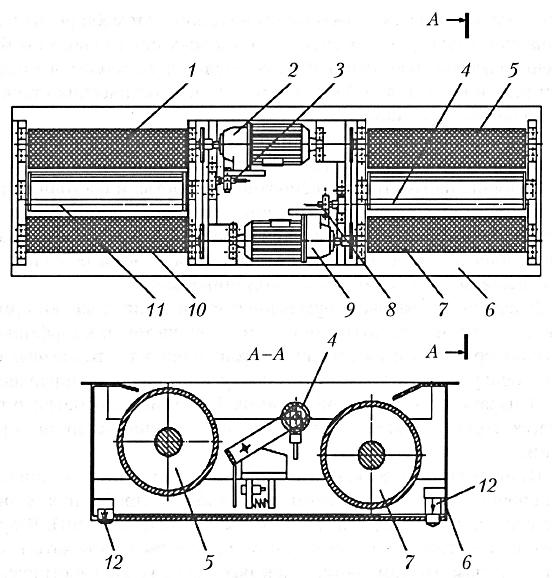
Диагностирование тормозов автомобиля выполняют на стендах инерционного или силового метода измерения показателей их эффективности.
Принцип работы инерционных стендов (рис. 30.28) заключается в том, что на неподвижно стоящем автомобиле все колеса раскручиваются двигателем автомобиля или электродвигателем 4 (см. рис. 30.28, б) стенда до скорости 50—70 км/ч и резко тормозят, одновременно разобщая все каретки стенда выключением электромагнитных муфт 3. Сила нажатия на педаль тормоза должна обеспечиваться «пневмоногой».
Для создания условий торможения автомобиля, максимально приближенных к реальным, на валу роликов / устанавливают маховики 2, воспроизводящие инерционную нагрузку, соответствующую моменту инерции автомобиля.
Важно
Путь, пройденный каждым колесом автомобиля за время от начала торможения до полной остановки роликов (барабанов) стенда и колес, будет соответствовать их тормозному пути.
На силовых стендах (рис. 30.29) тормозные силы измеряют на каждом колесе автомобиля в процессе затормаживания вращающегося с небольшой скоростью (2—8 км/ч) колеса при фиксируемом усилии на педаль.
Рис. 30.28. Инерционные тормозные стенды с беговыми барабанами: а — с приводом от ведущих колес автомобиля; б —с приводом от электродвигателей
Такого типа стенды получили наибольшее распространение. Эти стенды позволяют измерять тормозное усилие на каждом колесе, время срабатывания тормоза каждого колеса, усилие свободного вращения колес, разность основных параметров по отдельным колесам, наличие блокировки колес, неравномерность износа тормозных барабанов.
На стенде наряду с диагностированием можно выполнять отдельные регулировки тормозной системы, доводя их до нормы. Кроме того, на стенде проверяют эффективность стояночного тормоза и усилие, прикладываемое к тормозной педали. Условия диагностирования тормозных качеств автомобиля на стенде стабильны, не зависят от дорожных и климатических факторов и субъективных данных водителя.
Рис. 30.29. Типовая схема силового тормозного стенда
Рама стенда 9 может быть единой (под оба колеса оси) и раздельной (под каждое колесо). Ролики 8 служат для передачи крутящего момента от приводного электродвигателя 5 колесам автомобиля,
Для реализации полного тормозного момента при помощи сил сцепления ролики соединяют цепью 7, а их поверхность делают рифленой или же покрывают фрикционным материалом.
Для этой же цели диаметр роликов делают небольшим, расстояние между ними — достаточно большим, обеспечивающим и хорошее сцепление и невозможность самопроизвольного выезда автомобиля при измерении максимального тормозного момента, Выезд автомобиля со стенда обеспечивают торможением роликов при помощи подъемников или муфт свободного хода.
Совет
Один из каждой пары роликов стенда соединен через редуктор 6 с приводным, балансирно подвешенным электродвигателем 5. Статор электродвигателя при помощи рычага 1 опирается на датчик 2 измерительного устройства стенда.
Технология диагностирования на силовом тормозном стенде следующая: автомобиль устанавливают колесами одной из осей на ролики стенда, подкладывают упоры под непроверяемые колеса, включают приводные электродвигатели и, «просушив» тормозные механизмы несильным двух-трехразовым нажатием на тормозную педаль, постепенно нажимают на тормозную педаль с возрастающим усилием до наступления момента блокировки колес. Возникающие при этом тормозные силы фиксируют измерителем тормозных сил 4, а блокировку колес — световым индикатором 3. Одновременно измеряют и ряд других диагностических параметров и сопоставляют их с нормативными.
ПриЕО в пневматическом приводе тормозов при неработающем двигателе необходимо наблюдать за пока-414 заниями манометра. Если давление будет уменьшаться, то в системе имеется утечка воздуха.
В холодное время года сливают конденсат из воздушных баллонов. После работы в зоне стоянки открывают сливные краники у каждого баллона. После слива конденсата краники закрывают.
При ТО-1 перед диагностированием эффективности тормозов и перед их регулировкой проверяют состояние и подтяжку креплений всех узлов тормозной системы, наличие контрящих устройств (шплинтов и др.), а также общее состояние деталей тормозных механизмов.
В гидравлическом приводе тормозов проверяют уровень тормозной жидкости в резервуаре главного тормозного цилиндра. Уровень жидкости должен быть на 10—15 мм ниже кромки наливного отверстия. Перед доливом тормозной жидкости в резервуар прочищают воздушное отверстие в его пробке,
При наличии воздуха в тормозной системе ее прокачивают. Воздух обнаруживают по перемещению педали более чем на 2/3 хода или до упора в пол, так как воздух в отличие от жидкости сжимается.
При прокачивании тормозной системы снимают резиновый колпачок с перепускного клапана, наиболее удаленного от главного тормозного цилиндра колеса (правое заднее), и надевают на него один конец резинового шланга, а другой конец опускают в стеклянный сосуд вместимостью 0,5 л с тормозной жидкостью, налитой наполовину.
Обратите внимание
Отвернув перепускной клапан на 1/2—3/4 оборота, несколько раз резко нажимают на тормозную педаль и плавно отпускают её до прекращения выхода пузырьков воздуха, При нажатой педали завертывают клапан, снимают шланг, надевают колпачок и доливают жидкость в главный тормозной цилиндр.
На передних тормозах, имеющих два колесных тормозных цилиндра, прокачивание начинают с нижнего цилиндра.
При удалении воздуха из цилиндра гидравлического усилителя сначала выполняют прокачивание через перепускной клапан, расположенный на выходе жидкости, затем через клапан, находящийся около входа жидкости в цилиндр.
После прокачивания тормозной системы доливают жидкость в главный тормозной цилиндр до установленного уровня,
В системе пневматического привода проверяют давление воздуха и герметичность системы, выполняют регулировочные работы.
В автомобилях, работающих с прицепами и снабженных выводом сжатого воздуха для присоединения пневматической системы тормозов прицепа, при помощи контрольного манометра проверяют и регулируют давление воздуха на выводе.
В системе пневматического привода герметичность предохранительного клапана проверяют при помощи мыльной эмульсии, а срабатывание его — по достижении максимального давления (0,9—0,95 МПа). При необходимости клапан регулируют регулировочным винтом.
Регулировка рабочего тормоза заключается в следующем. Различают два вида регулировки тормозов: частичную и полную.
Важно
Частичную регулировку проводят при поддержании эффективности тормозов восстановлением зазора между фрикционными накладками колодок и тормозным барабаном при помощи регулировочных эксцентриков или разжимного кулака и регулировкой свободного хода тормозной педали. Полную регулировку выполняют при замене тормозных колодок и барабанов.
Зазор между тормозным барабаном и накладками регулируют в зависимости от конструкции тормоза.
При наличии регулировочных эксцентриков (у грузовых автомобилей ГАЗ и УАЗ) на предварительно вывешенном колесе автомобиля (на стенде с беговыми барабанами) вращают колесо вперед, а регулировочный эксцентрик / (рис. 30.
30, а) передней колодки постепенно поворачивают ключом до начала прижатия тормозной колодки к барабану. Затем поворачивают эксцентрик 1 в обратную сторону, пока колесо не начнет свободно вращаться.
В той же последовательности регулируют зазор между задней колодкой и барабаном, вращая колесо при этом назад.
Рис. 30.30. Регулировка тормозного механизма: а —е гидравлическим приводом: б — с пневматическим приводом
На автомобилях с пневматическим приводом тормозов (ЗИЛ, МАЗ, КрАЗ, КамАЗ) зазор регулируют, изменяя положения разжимного кулака, что достигается вращением червяка 2 регулировочного рычага (рис. 30.30, б).
Необходимость регулировки зазора определяется по длине хода штока тормозных камер, который не должен превышать 30 мм для передних тормозов и 35 мм для задних.
Совет
У автомобилей КамАЗ для всех тормозов ход штока не должен быть более 35 мм, а после регулировки ход штока не должен быть меньше 15 мм для передних и 20 мм для задних тормозов.
Тормозные механизмы регулируют при охлажденных тормозных -барабанах и правильно отрегулированных подшипниках ступиц колес.
Регулировка свободного хода педали рабочего тормоза с гидравлическим приводом (рис. 30.
31) при отрегулированных зазорах между накладками колодок и тормозным барабаном заключается в установлении необходимого зазора между толкателем (штоком) поршня и самим поршнем 7 главного тормозного цилиндра.
Этот зазор предохраняет от самопроизвольного притормаживания тормозные колодки и определяется свободным ходом педали. В зависимости от конструкции привода этот зазор колеблется в пределах 1,5—2,5 мм и соответственно свободный ход педали — в пределах 6—17 мм.
Свободный ход педали проверяют линейкой (см. рис. 30.20), а регулируют (см. рис. 30.31), изменяя длину толкателя.
Для этого отъединяют педаль и, отвернув контргайку, ввертывают толкатель настолько, чтобы при крайнем переднем положении поршня ось отверстия тяги не доходила до отверстия в педали на 1,5—2,5 мм.
В этом положении затягивают контргайку, совместив отверстия, вставляют и зашплинтовывают палец.
Обратите внимание
Регулировка свободного хода педали тормоза с пневматическим приводом заключается в установлении длины тяги, соединяющей педаль с рычагом тормозного крана. Свободный ход верхнего конца педали тормоза должен составлять 15—25 мм, а для комбинированного крана автомобиля ЗИЛ-130 — 40—60 мм. При полном торможении и рабочем давлении в системе педаль не должна доходить до пола на 10—30 мм.
Рис. 30.31. Регулировка свободного хода педали рабочего тормоза
Проверяют действие стояночного тормоза: надежное торможение нагруженного автомобиля стояночным тормозом должно обеспечиваться на подъеме с уклоном не менее 16%, легковых автомобилей в снаряженном состоянии на подъеме — с уклоном не менее 23%, а грузовых автомобилей и автопоездов на подъеме — с уклоном не менее 31%.
Ход рычага стояночного тормоза регулируют. Так, автомобиль ЗИЛ-130 должен удерживаться в заторможенном состоянии при перемещении рычага 11 на 2—6 зубьев сектора 10 (см. рис. 17.18). Регулируют тормозную систему, изменяя длину тяги 8, отвернув контргайку 3 и сняв тягу с оси 2.
Если такая регулировка недостаточна, палец тяги 8 перемещают в следующее отверстие регулировочного рычага.
Другие типы стояночных тормозов регулируют, изменяя положение тормозных колодок при помощи регулировочных болтов или гаек, а также изменяя длину тяги тросов, соединяющих рычаг привода колодок колесных тормозов с рычагом стояночного тормоза.
При ТО-2, кроме перечисленного объема работ ТО-1, выполняют крепежные работы по всем элементам тормозной системы. Снимают тормозные барабаны со ступицами и контролируют состояние деталей колесных тормозных механизмов.
К неисправностям тормозных механизмов, требующих восстановления или ремонта, относят: значительное замасливание или износ тормозных накладок (глубина утопления заклепок менее 0,5 мм); износ тормозных барабанов, отверстий под опорные пальцы, разжимного кулака (пневмопривод), манжет, поршней и цилиндров гидравлического привода; ослабление и поломку стяжных пружин тормозных накладок.
Неисправные детали снимают, отправляют в ремонт или заменяют на годные. После сборки проводят полную регулировку тормозных механизмов (см. рис. 30.30). При этом устанавливают требуемый зазор не только в верхней части колодок, но и в нижней (опорной). Этот зазор регулируют поворотом опорных регулировочных пальцев при слегка нажатой тормозной педали. После регулировки зазор проверяют щупом.
Важно
В системе с гидравлическим приводом, где имеются гидровакуумные усилители, проверяют их работу.
С этой целью на автомобиле ГАЗ-БЗА, например, при неработающем двигателе несколько раз нажимают на тормозную педаль и освобождают усилитель от вакуума. После этого при нажатой педали пускают двигатель.
Если усилитель исправен, педаль при шипении воздуха в фильтре немного переместится к полу кабины и будет находиться в этом положении 1—2 мин после остановки двигателя.
В тормозных системах с пневматическим приводом очищают от загрязнений тормозные краны, проверяют их действие и герметичность. Через два ТО-2 снимают тормозной кран с автомобиля, разбирают и тщательно промывают детали в керосине.
После этого трущиеся поверхности протирают мягкой тряпкой и смазывают тонким слоем смазки ЦИАТИМ-201. Проверяют легкость хода направляющих стаканов диафрагмы, штока, стакана малой уравновешивающей пружины, рычагов.
После сборки проверяют действие крана.
Тормозной привод автомобилей КамАЗ проверяют работой всех пяти контуров по перепадам давлений в контрольных манометрах.
Во вспомогательных тормозных системах проверяют надежность крепления заслонки к выпускным трубам и легкость вращения вала заслонки, а также крепление цилиндра привода и его герметичность, При СО один раз в год (при осеннем СО) заменяют тормозную жидкость с последующей прокачкой всей системы для удаления воздуха. При осеннем СО (на автомобилях КамАЗ) заправляют предохранитель против замерзания спиртом.
Реклама:
Читать далее: Техническое обслуживание автомобилей-самосвалов и автопоездов
– Техническое обслуживание автомобилей












